文章
  • 文章
搜索
首页 >> 知识产权 >>知识产权案件分享 >> 旗锐分享慧丨知识产权案件分享(第六十一期)
详细内容

旗锐分享慧丨知识产权案件分享(第六十一期)

时间:2022-05-13     【转载】

1、头头.jpg

企业在产品未上市之前就应当做到未雨绸缪,规划拟保护的商标元素,从不同的维度确定拟申请商品和服务类别,做到市场未动、产品未出,商标先行!从长远的规划做好商标的提前布局和储备。

本期的知识产权案件分享,我们一起去了解一下布局了1200余件商标的圆谷制作株式会社吧!


侵权者懵了:赔80万,就因为 “奥特曼”是驰名商标?


每个男生小时候心里应该都有一个奥特曼吧,关于奥特曼形象的玩具、用品也有很多。但其实,“奥特曼”也有商标权,擅自使用可能会侵权!

近日,奥特曼中国大陆版权总代理商——上海新创华文化发展有限公司发文称,收到北京知识产权法院的《民事判决书》,认定“奥特曼”商标构成驰名商标。


4.png


据悉,“奥特曼”是圆谷制作株式会社名下的注册商标,涉及多个类别。

被告深圳宏韵科技有限公司在未经许可的情况下,制造、销售一款"奥特曼”儿童电动牙刷。并且,该公司在侵权产品的视频内容里显著标注“奥特曼官方正品联名";商品名称使用“奥特曼”,下方更是赫然标明" 奥特曼官方联名款"、”咸蛋超人ULTRAMAN官方授权联名款",并在视频画面配文中多次出现“奥特曼"。


3.png


本案中,第14183617号与第21074260号“奥特曼”商标被认定为驰名商标。

法院审理认为,被告的行为侵犯“奥特曼”商标专用权,判决被告立即停止侵权行为,停止使用奥特曼”商标用于商品宣传,并于判决生效之日起七日内,向原告赔偿经济损失和合理支出共计80万元。


2.png


目前,被告不服一审判决,并提出上诉,案件正在二审审理中。

此前,还有人未经许可印刷假冒“欧布奥特曼”“捷德奥特曼”“奥特英雄”等注册商标的卡牌,进行出售,最终以涉嫌假冒注册商标罪被捕。

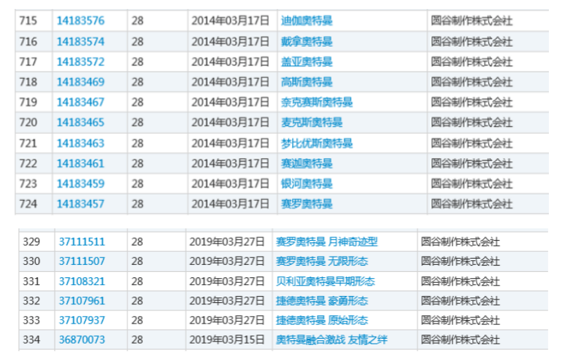
其实,关于奥特曼的商标保护,圆谷制作株式会社十分尽心,共申请了1200余件商标进行布局,各类型奥特曼、奥特曼各形态及各个怪兽名字都保护在列!


1.png


只有积极维权,才能让侵权者无缝可钻!


以上为本期全部内容


2、屁股.jpg


                                          内容声明

                                          1、文章部分内容来自于品源知识产权微信公众号。

                                          2、本文章内容如无意中侵犯了媒体或个人的知识产权,请联系我们。


3、尾巴.jpg

广州旗锐数字科技有限公司

联系方式:020-82514878

政策咨询:13421147618



长按二维码关注我们



seo seo