文章
  • 文章
搜索
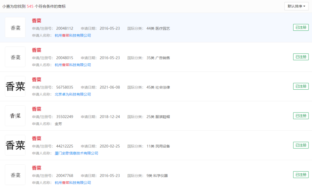
首页 >> 知识产权 >>知识产权案件分享 >> 旗锐分享慧丨知识产权案件分享(第三十七期)
详细内容

旗锐分享慧丨知识产权案件分享(第三十七期)

时间:2022-03-18     【转载】

001.jpg

随着我们生活水平的不断提升,社会各界的热点名词愈发“层出不穷”,不断地吸引着我们的关注。在这些名词中,有以公益为目的的,有以盈利为目的的,更有想趁着“热点的风口”谋取投机之利的。

本期知识产权案件分享,我们一起去了解一下前不久的热点名词---“香菜新地”吧~

世界讨厌香菜日:香菜新地买不到、香菜商标已申请、香菜专利很有趣

俄乌之间,突然“爆了”。

同时,一个冷知识也突然在网上“爆了”:#今天是世界讨厌香菜日#。

1.png

这几天,香菜属实是“菜界顶流”。因为麦当劳在这一周推出了,令人闻风丧胆的新菜单“香菜新地”。

2.png

“香菜”商标已注册 

据品知君查询资料后得知,数枚“香菜”商标早已申请并成功注册。其中的一位商标申请者,堪称重度香菜迷。因为它叫“杭州香菜科技有限公司”。据了解,这家公司共申请了5枚“香菜”商标,其中4枚已经成功注册,1枚商标失效。

3.png

此外,其他与“香菜”相关的商标申请更是数不胜数。有“香菜园”、“食香菜”、“臭香菜”、“香菜王”...

4.png

“香菜”专利很有趣 

接下来讲讲香菜的有关专利。通过企查查的资料显示,与香菜相关的专利多达370个,包含香菜香水、香菜桔梗茶香饮料等。

5.png
6.png

其中“一种香菜通便海鲜酱”专利公开的原料十分丰富,含有虾皮、火龙果皮以及鱿鱼、金枪鱼等。

7.png

以上为本期全部内容

8.jpg

内容声明

1、文章部分内容来自于品源知识产权微信公众号。

2、本文章内容如无意中侵犯了媒体或个人的知识产权,请联系我们。


002.jpg

广州旗锐数字科技有限公司

联系方式:020-82514878

政策咨询:13421147618



长按二维码关注我们




seo seo