文章
  • 文章
搜索
首页 >> 知识产权 >>知识产权案件分享 >> 旗锐分享慧│知识产权案件分享(第二十二期)
详细内容

旗锐分享慧│知识产权案件分享(第二十二期)

时间:2022-02-14     【转载】

00888888888.jpg


2021年10月9日,国务院印发的《“十四五”国家知识产权保护和运用规划》中明确提出严格规范商标注册行为,加强信用监管和行业自律,严厉打击不以使用为目的的恶意商标注册和代理行为,依法依规对相关行为进行处置。本期的知识产权案件分享,我们一起去回顾一下“谷爱凌”商标被注册事件吧!

“谷爱凌”商标已被注册,抢注奥运热词或将面临处罚

2月8日,在北京首钢滑雪大跳台举行的北京2022年冬奥会自由式滑雪女子大跳台决赛中,中国选手谷爱凌夺得冠军。这是她个人首个冬奥会奖牌,同时也是冬奥会历史上第一枚自由式滑雪女子大跳台项目金牌,以及中国代表团冬奥会历史上的第一枚雪上项目金牌。

1.jpg

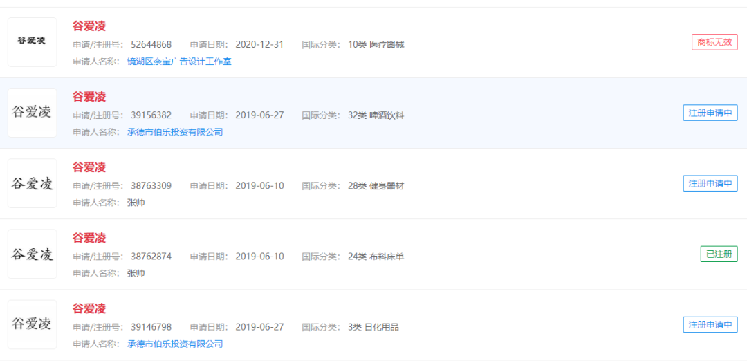
天眼查App显示,“谷爱凌”商标申请信息达29条。其中,自然人张某于2019年6月申请的11个“谷爱凌”商标已完成注册,国际分类涉及教育教育娱乐、广告销售、灯具空调等。其余多个公司及自然人申请的“谷爱凌”商标流程显示为“被驳回”或“商标无效”。

2.png

针对此类行为,国家知识产权局曾在2021年8月发布了《关于依法驳回“杨倩”“陈梦”“全红婵”等109件商标注册申请的通告》,表示将不断强化对包括奥运健儿在内的具有较高知名度的公众人物姓名的保护,对违反诚实信用原则、恶意申请商标注册、图谋不当利益的申请人及其委托的商标代理机构,依法依规严肃处理,持续营造良好的创新环境和营商环境。

随后国家知识产权局又在2021年9月印发了《关于严厉打击恶意抢注相关奥林匹克运动会热词商标申请代理行为的通知》,要求相关各地对存在违法违规行为的依法予以处罚,情节严重的依法停止受理其办理商标代理业务。各地高度重视、迅速行动,对违反诚实信用原则、恶意申请商标注册、图谋不正当利益的违法违规代理行为依法依规进行处罚,并及时通过政府门户网站、企业信用信息公示系统等公开公示处罚情况。同时,将专项行动同日常监管、“双随机、一公开”检查有机结合,约谈提醒相关代理机构完善代理业务管理制度。

以上为本期全部内容

002.jpg

内容声明

1、文章部分内容来自于品源知识产权微信公众号。

2、本文章内容如无意中侵犯了媒体或个人的知识产权,请联系我们。



888888888.jpg

广州旗锐数字科技有限公司

联系方式:020-82514878

政策咨询:13421147618



长按二维码关注我们







seo seo